Single Shaft Blank Mounting Plate

Image of Single Shaft Blank Mounting Plate Image of Draw-Single Shaft Blank Mounting Plate

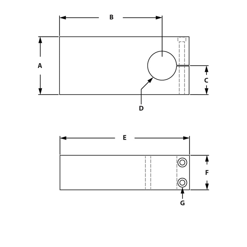
This single shaft stanchion mounting plate is used with a tube mounted perpendicular and creates a custom offset axis.

SELECT PRODUCT VARIATION BELOW TO ADD TO RFQ

Product Variations

Item # Series Included Hardware #1 Included Hardware # 1 Qty A B C D E F List Price Qty. Add to RFQ
659023

10
651031
2
2.000"
3.562"
1.000"
1.004"
4.500"
1.000"
46.005
659026

15
651653
2
3.000"
5.125"
1.500"
1.505"
6.500"
1.500"
82.966
659028

15
651654
2
4.000"
6.125"
2.000"
2.005"
7.750"
2.000"
101.053